電動三通調節閥
您的位置:超卓閥門 >>電動三通調節閥 >> ZAZQ型電動三通調節閥
關注次數:
ZAZQ型電動三通調節閥
產品說明
|
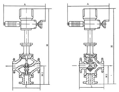
ZAZQ型電動三通調節閥概述
ZAZQ型電動三通調節閥有合流和分流二種型式,由DKZ電動執行機構和三通合流或三通分流調節組成,以電源為動力,接受統一的標準信號0~10mA DC或4-20mA Dc驅使閥門開度與此操作信號相對應。合流閥的作用是將一種流體分成兩路流體。分流合流閥只能對應選用,但當DN≤80時,合流閥可用于分流場合??商娲鷥膳_單、雙座調節閥,節省投資,占據空間小。三通調節閥通常用于熱交換器的兩種介質調節,及簡單的配比調節。 ZAZQ型電動三通調節閥主要技術參數
|
|||||||||||||||||||||||||||||||||||||||||||||||||||||||||||||||||||||||||||||||||||||||||||||||||||||||||||||||||||||||||||||||||||||||||||||||||||||||||||||||||||||||||||||||||||||||||||||||||||||||||||||||||||||||||||||||||||||||||||||||||||||||||||||||||||||||||||||||||||||||||||||||||||||||||||||||||||||||||||||||||||||||||||||||||||||||||||||||||||||||||||||||||||||||||||||||||||||||||||||||||||||||||||||||||||||||||||||||||||||||||||||||||||||||||||||||||||||||||||||||||||||





