氣動球閥
您的位置:超卓閥門 >>氣動球閥 >> ZSHR氣動球閥ZSHR氣動球閥
ZSHR氣動O型球閥詳細介紹
氣動球閥特點及用途
ZSHR氣動O型球閥主要用于截斷或接通管路中的介質,亦可用于流體的調節與控制,它與其它閥類相比,具有以下一些優點。
1、流體阻力小、球閥是所有閥類中流體阻力最小的一種,即使是縮徑球閥,其流體阻力也相當小。
2、止推軸承減小閥桿磨擦力矩,可使閥桿長期操作平穩靈活。
3、閥座密封性能好,采用聚四氟乙烯等彈性材料制成的密封圈,結構易于密封,而且球閥的閥封能力隨著介質壓力的增高而增大。
4、閥桿密封可靠,由于閥桿只作彷轉動運而不做升降運動,閥桿的填料密封不易破壞,且密封能力隨著介質的壓力增高而增大。
5、由于聚四氟乙烯等材料具有良好的自潤滑性,與球體的磨擦損失小,故球閥的使用壽命長。
6、下裝式閥桿和閥桿頭部凸階防止閥桿噴出,如火災造成閥桿密封破壞,凸階與閥體間還可形成金屬接觸,確保閥桿密封。
7、 防靜電功能:在球體、閥桿、閥體之間設置彈簧,能將開關過程產生的靜電導出。
執行機構
ZSHR氣動O型球閥采用新型系列GT型氣動執行器,有雙作用式和單作用式(彈簧復位),齒輪齒條傳動,安全可靠;大口徑閥門采用系列AW型氣動執行器拔叉式傳動,結構合理,輸出扭矩大,有雙作用式和單作用式。
1、齒輪式雙活塞,輸出力矩大,體積小。
2、氣缸選用鋁金材料,重量輕、外形美觀。
3、可在頂部、底部安裝手動操作機構。
4、齒條式連接可調節開啟角度、額定流量。
5、執行器可選帶電訊號反饋指示及各類附件以實現自動化操作。
6、IS05211標準連接為產品的安裝更換提供了方便。
7、兩端調的節螺釘可使標準產品在0°和90°有±4°的可調范圍。確保與閥門的同步精度。
附件的選項 根據不同控制和要求可選擇下列附件:
切斷型附件:單電控電磁閥、雙電控電磁閥、限位開關回訊器。
調節型附件:電氣定位器、氣動定位器、電氣轉換器。
氣源處理附件:空氣過濾減壓閥、氣源處理三聯件。
手動機構:HVSD手操機構
執行標準
1、設計與制造:GB12237-89、API608、API 6D、JPI 7S-48、BS5351、DIN3357。
2、法蘭尺寸:JB/T74~90(JB74~90)、GB9112~9131、HGJ44~76、SH3406、ANSI B16.5、JIS B2212~2214、NF E29-211、DIN2543。
3、結構長度:GB12221-89、ANSI B16.10、JIS B2002、NF E29-305、DIN3202。
4、檢驗主試驗:JB/T 9092、API 598。
氣動球閥性能規范
公稱通徑mm |
DN15-DN300 | |||
| 材料代號 | C | P | R | |
| 主要零件 | 閥 體 | WCB | ZG1Cr18Ni9Ti | ZG1Cr18Ni 12Mo2Ti |
| 球 體 | 2Cr13 | 1Cr18Ni9Ti | 1Cr18Ni12MoTi | |
| 閥 桿 | 2Cr13 | 1Cr18Ni9Ti | 1Cr18Ni12MoTi | |
| 密封圈 | 增強聚四氟乙烯 對位聚苯 | |||
| 填 料 | 聚四氟乙烯 柔性石墨 | |||
| 適用工況 | 適用 介質 |
蒸汽、水 | 硝酸類 | 醋酸類 |
| 適用 溫度 |
-28℃ - 300℃ | |||
| 執行器 | 型 號 | AW、DA/SR系列、GTE系列、TH系列等 | ||
| 氣源壓力 | 0.4-0.7MPa | |||

試驗壓力 (Mpa) |
公稱壓力(Mpa) | 壓力級(class) | JIS(Mpa) | |||||||
| 1.6 | 2.5 | 4.0 | 6.4 | 10.0 | 150 | 300 | 600 | 10K | 20K | |
| 強度試驗 | 2.4 | 3.8 | 6.0 | 9.6 | 15.0 | 3.1 | 7.8 | 15.3 | 2.4 | 3.8 |
| 密封試驗 | 1.8 | 2.8 | 4.4 | 7.0 | 11.0 | 2.2 | 5.6 | 11.2 | 1.5 | 2.8 |
| 氣密試驗 | 0.5~0.7 | |||||||||
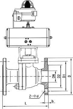
氣動球閥安裝尺寸表
公稱 通徑 DN(mm) |
尺 寸(mm) | 執 行 器 型 號 | ||||||||||||||
| 1.6MPa | 2.5MPa | 4.0MPa | ||||||||||||||
| L | D | D1 | b | Z-фD | L | D | D1 | b | Z-фD | L | D | D1 | b | Z-фD | 可選配DA/SR、QGSY、 SY-CH、GTD/GTE AW/AWS、SY-YD、 系列執行器 以上選配僅供參考具體 選區用根據實際要求 |
|
| 15 | 130 | 95 | 65 | 14 | 4-14 | 130 | 95 | 65 | 16 | 4-14 | 130 | 130 | 65 | 16 | 4-14 | |
| 20 | 130 | 105 | 75 | 14 | 4-14 | 130 | 105 | 75 | 16 | 4-14 | 150 | 150 | 75 | 16 | 4-14 | |
| 25 | 140 | 115 | 85 | 14 | 4-14 | 140 | 115 | 85 | 16 | 4-14 | 160 | 160 | 85 | 16 | 4-14 | |
| 32 | 165 | 135 | 100 | 16 | 4-18 | 165 | 135 | 100 | 18 | 4-18 | 180 | 180 | 100 | 18 | 4-18 | |
| 40 | 165 | 145 | 110 | 16 | 4-18 | 165 | 145 | 110 | 18 | 4-18 | 200 | 200 | 110 | 18 | 4-18 | |
| 50 | 203 | 160 | 125 | 16 | 4-18 | 203 | 160 | 125 | 20 | 4-18 | 230 | 230 | 125 | 20 | 4-18 | |
| 65 | 222 | 180 | 145 | 18 | 4-18 | 222 | 180 | 145 | 22 | 8-18 | 290 | 290 | 145 | 22 | 8-18 | |
| 80 | 241 | 195 | 160 | 20 | 8-18 | 241 | 195 | 160 | 22 | 8-18 | 310 | 310 | 160 | 22 | 8-18 | |
| 100 | 305 | 215 | 180 | 20 | 8-18 | 305 | 230 | 190 | 24 | 8-23 | 350 | 350 | 190 | 24 | 8-23 | |
| 125 | 356 | 245 | 210 | 22 | 8-18 | 356 | 270 | 220 | 28 | 8-25 | 400 | 270 | 220 | 28 | 8-25 | |
| 150 | 394 | 280 | 240 | 24 | 8-23 | 394 | 300 | 250 | 30 | 8-25 | 480 | 300 | 250 | 30 | 8-25 | |
| 200 | 457 | 335 | 295 | 28 | 12-23 | 457 | 360 | 310 | 34 | 12-25 | 600 | 375 | 320 | 38 | 12-30 | |
O型固定式球閥采用固定球設計,相對運動部位均采用摩擦系數極小自潤滑材料,因而操作扭矩小,此外密封潤滑脂的長期密封,使得操作更加靈活。 特點 1、 金屬硬密封O型固定式球閥采用雙向金屬可動密封結構,具有自動補償功能,密封性能優越。 2、 O型固定式球閥采用固定球設計,并增加了預緊力彈簧,使得球閥具有自動泄壓功能。 3、 每個球閥都有兩個可動密封座,兩個方向都能密封,因而安裝時不須考慮介質的流向。 4、 具有防火防靜電結構,在閥桿與閥體及閥桿與球體之間設置導電彈簧,避免靜點打火點燃易燃介質。確保系統安全。 5、 耐火結構雙重保護,但萬一發生火災而使密封圈燒損時,球閥的各個部位均能形成金屬對金屬的硬密封結構。 6、 自動泄壓結構,當滯留在閥門中腔的液體介質由于溫度升高而氣化,從而中腔壓力異常升高時,中腔介質能依靠本身的推力推動閥座而自動泄壓,從而確保閥門安全。




