氣動對夾蝶閥
您的位置:超卓閥門 >>氣動對夾蝶閥 >> D671J氣動調節對夾襯膠蝶閥D671J氣動調節對夾襯膠蝶閥
氣動襯膠蝶閥廣泛適用于油品、化工、冶金、造紙、電辦、礦業,印染、日用化,等行業的流體自動控制或調節控制,與自動化氣動儀表配套使用。
D671J氣動調節對夾襯膠蝶閥詳細說明:
氣動襯膠蝶閥結構特點為:
氣動執行器:采用新型系列AT型氣動執行器,有雙作用式和單作用式(彈簧復位),齒輪齒條傳動,安全可靠;大口徑閥門采用系列AW型氣動執行器拔叉式傳動,結構合理,輸出扭矩大,有雙作用式和單作用式(彈簧復位);參考本公司氣動執行器樣本。
中線彈性密封:密封材料分橡膠和氟塑料或全襯橡膠和氟塑料,彈性閥座配高精度蝶板確保零泄漏,閥桿底、中、上部配有襯套,用于支撐和旋轉滑動,保持最小磨擦力。產品重量輕,體積小,啟閉迅速。
三偏心結構密封:閥座密封材料分金屬密封和氟塑料密封。金屬密封蝶閥有彈性密封圈閥座與多層復合蝶板,三維偏心密封結構啟閉磨檫小,密封性能可靠,抗磨損耐高溫,具有自定心作用,泄漏最小,使用壽命長。產品結構合理重量輕,體積小,安裝尺寸小,操作簡便,啟閉迅速,是目前發展最快適用最廣泛的流體控制閥門。
F4 全襯里聚四氟乙烯 -40 ~ 160
D671J氣動調節對夾襯膠蝶閥附件的選項
根據不同控制和要求可選擇下列附件:
切斷型附件:單電控電磁閥、雙電控電磁閥、限位開關回訊器。
調節型附件:電氣定位器、氣動定位器、電氣轉換器。
氣源處理附件:空氣過濾減壓閥、氣源處理三聯件。
手動機構:HVSD手操機構
D671J氣動調節對夾襯膠蝶閥產品性能規范
|
壓 力 等 級 |
公稱壓力 PN (Mpa) |
磅級(Class) |
|||||||||||
|
0.6 |
1.0 |
1.6 |
2.5 |
4.0 |
6.4 |
10.0 |
150 |
300 |
400 |
600 |
|||
|
試驗 |
殼體試驗 |
0.9 |
1.5 |
2.4 |
3.75 |
6.0 |
9.6 |
15.0 |
3.03 |
7.5 |
10.2 |
15.0 |
|
|
密封試驗 |
0.66 |
1.1 |
1.76 |
2.75 |
4.4 |
7.04 |
11.0 |
2.2 |
5.5 |
7.48 |
11.0 |
||
|
氣密封 |
0.6 (Mpa) |
||||||||||||
|
適用介質 |
閥 體 材 質 |
||||||||||||
|
C |
P |
R |
|||||||||||
|
水、蒸汽、油品、液化氣等 |
醋酸類腐蝕性介質等 |
||||||||||||
D671J氣動調節對夾襯膠蝶閥閥座密封材料溫度額定值
|
代 號 |
材 料 |
適用溫度 ( ℃ ) |
|
H |
合金鋼304、316 |
-30 ~ 425 |
|
F |
增強聚四氟乙烯 |
-40 ~ 180 |
|
X |
丁睛橡膠 |
-12 ~ 82 |
|
乙丙橡膠 |
-35 ~ 110 |
|
|
食品級乙丙膠 |
-35 ~ 110 |
|
|
氟橡膠 |
-12 ~ 135 |
|
|
J |
全襯里丁睛橡膠 |
-12 ~ 82 |
|
F4 |
全襯里聚四氟乙烯 |
-40 ~ 160 |
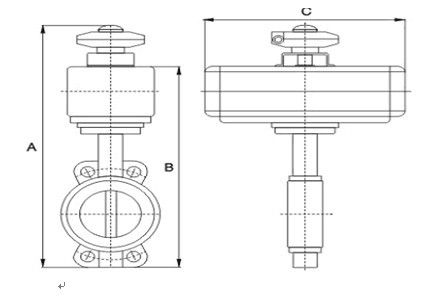
D671J氣動調節對夾襯膠蝶閥外型參數及尺寸
|
規格 |
A |
B |
C |
|
DN50 |
379 |
368 |
141 |
|
DN65 |
417 |
307 |
159 |
|
DN80 |
442 |
332 |
159 |
|
DN100 |
489 |
379 |
211 |
|
DN125 |
556 |
446 |
248 |
|
DN150 |
581 |
471 |
269 |
|
DN200 |
668 |
558 |
315 |
|
DN250 |
777 |
667 |
409 |
|
DN300 |
853 |
743 |
438 |
|
DN350 |
941 |
831 |
487 |
|
DN400 |
1083 |
973 |
621 |
|
DN450 |
1152 |
1042 |
621 |
|
DN500 |
1241 |
1131 |
684 |
|
DN600 |
1541 |
1431 |
876 |




